Please enable JavaScript to view this site.

Чтобы проставить угловой размер с обрывом, выполните следующие действия.

1.Вызовите команду Угловой с обрывом .

2.Укажите объект, от которого требуется проставить размер, и ось симметрии размера. Объект и ось указываются так же, как стороны угла (см. раздел Указание сторон углов).
В графической области появятся вершина угла и фантом размера.

3.Выберите тип размера с помощью группы кнопок Тип.
После указания объектов становятся доступными два варианта:

Минимальный угол или Максимальный угол  — какой из вариантов доступен, автоматически определяется системой в зависимости от взаимного расположения объектов,

Угол более 180 градусов .

Описание вариантов простановки углового размера в зависимости от его типа...

4.Выберите вариант отрисовки выносных линий размера с помощью группы кнопок Выносные линии:

Не от центра,

От центра.

5.При необходимости отредактируйте размерную надпись. Для перехода в режим работы с надписью нажмите любую из буквенно-цифровых клавиш на клавиатуре. Подробнее о редактировании размерной надписи...

6.Задайте количество знаков после запятой в размерной надписи. Подробнее...

7.Задайте допуск на размер. Подробнее...

8.При необходимости настройте дополнительные параметры размера: вариант размещения размерной надписи, параметры отрисовки стрелки и т.п. Подробнее...

9.Задайте точку, определяющую положение размерной линии и ее длину.

Если выбрано фиксированное или ручное размещение размерной надписи, то после указания этой точки создание размера автоматически завершается. Надпись располагается в середине размерной линии, изменить ее положение нельзя.

Если выбрано размещение размерной надписи на полке, то необходимо указать еще одну точку — точку начала полки. Точка начала линии-выноски находится в середине размерной линии, изменить ее положение нельзя. После указания точки начала полки создание размера автоматически завершается.

10.Для завершения работы команды нажмите кнопку Завершить .

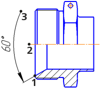
Простановка углового размера с обрывом

(стороны углов заданы двумя отрезками)

Смотрите также

Особенности использования команды в параметрическом режиме

Редактирование размеров

Выравнивание размерных линий

© ООО «АСКОН-Системы проектирования», 2026. Все права защищены. | Единая телефонная линия: 8-800-700-00-78